While walking our dog Maximus, a black Labrador, every morning and evening on a 5 km route through the City of Mississauga, Canada, it was intriguing to see him stop at nearly all fire hydrants (non-existent in India) and expel a part of the contents in his bladder. Maximus it seems has developed an art of dispensing a small quantity each time so that he can cover all the fire hydrants dotting the entire route. I observed other dogs also doing the similar act and hence concluded it as a canine act.
Why do dogs get attracted to the fire hydrants? As the fire hydrants are located is most likely closer to the sidewalk, all it takes is one dog peeing on it to get it to be a popular spot. Once one dog marks it, the rest follow. Dogs like something that extends above the ground level to mark their scent on.
Male dogs are attracted to pretty much anything they can lift their leg up and pee on. Urine is a dog’s visiting card. They will mark their territory on pretty much anything. A fire hydrant is no different than a telephone pole, light pole, or a sign pole. That is how they tell the other dogs who has been there and who is the boss.
Females aren’t much different except they are less dominant and obviously don’t lift their leg to pee, making it harder to aim. Dogs urine-mark in a number of situations, including while on walks, when in their own homes and yards, and during visits to other locations. A dog must be at least three months of age to urine-mark.
What makes fire hydrants so special? It cannot be the bright red colour as like all other animals, the canines see in different shades of grey and not in colour. Height! The three feet high fire hydrant appears ideal for the canine act. The higher a dog can lift his leg to urinate, the bigger the dog they must be, and the stronger probability they have in making their mark last. A small dog is no match when it comes to masking the smell of urination from a bigger dog. The shape of the fire hydrants and they being placed at a near constant interval of about 50 meters may also be the cause of attraction. The association between the dogs and the fire hydrants are more a media creation and also a marketing gimmick by dog toy and treat manufacturers, who make these in the shape of a fire hydrant.
A fire hydrant is an active fire protection measure, and a source of water provided in most urban, suburban and rural areas with municipal water service. This enables firefighters to tap into the municipal water supply to assist in extinguishing a fire.
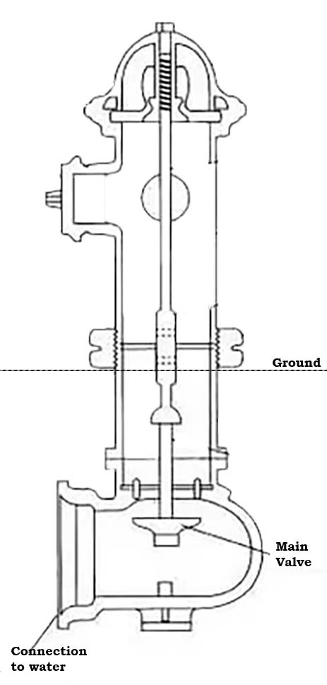
In areas subject to freezing temperatures like Canada, only a portion of the hydrant is above ground. The valve is located below the frost line (about 10 feet deep) and connected by a riser to the above-ground portion. A valve rod extends at the top of the hydrant, where it can be operated with the proper wrench. This design is known as a ‘dry barrel’ hydrant. In this model, the barrel, or vertical body of the hydrant, is normally dry. It is only in movies you see the fire hydrants spewing out water when hit by a car in a chase. It is unlikely to happen as the control valve and the water is at least 10 feet below and it would be difficult for any known car of the day to break the cast iron column.
The invention of a post or pillar-type fire hydrant is generally credited to Frederick Graff Sr, Chief Engineer of the Philadelphia Water Works around the year 1801. It had a combination hose/faucet outlet and was of ‘wet barrel’ design with the valve on top. It is said that Graff held the first patent for a fire hydrant, but this cannot be verified because the patent office in Washington DC caught fire in 1836 destroying many patent records from that period.
In the earlier days, at least the 17th century, when firefighters responding to a call would dig down to the wooden water mains and hastily bore a hole to secure water to fight fires. The water filled the hole creating a temporary well, and be transported from the well to the fire by bucket brigades, or later, by hand-pumped fire engines. The holes were then plugged with stoppers, normally redwood, which over time came to be known as fire plugs. The location of the plug was recorded or marked so that it could be reused in future fires. This is the source of the colloquial term ‘fire plug’ used for fire hydrants today. After the Great Fire of London in 1666, the city installed water mains with holes drilled at intervals, equipped with risers, allowing an access point to the wooden fire plugs from street level.
In most jurisdictions it is illegal to park a car within a certain distance of a fire hydrant. In North America the distance is commonly 3 meters or 10 ft. In the UK, yellow lines are used to keep cars from parking over underground hydrants. The rationale behind these laws is that hydrants need to be visible and accessible to the fire engines in an emergency. The fine for breaking the rule can be anything from $25 upwards in Canada.
In India we have no fire hydrants and hence no such laws and so no fear of fines.




Have you any time thought why we do the same thing while we are in India? Is any similarity?
LikeLiked by 1 person
Lucky dog, Maximus with so many Fire Hydrants around. My dogs have to make do with bushes, car tyres and at the best electric poles. The author has taken immense pain to go into the nitty gritties of dog activities while on a walk. Also informative were the facts on the Fire Hydrants themselves. Very entertaining and informative article penned down in .”Reji” Style 😉
LikeLiked by 1 person
Quite informative & interesting
LikeLiked by 1 person
Hve you forgotten Reji ? Dogs mark milestones in India ….!! Alternative there may be Fire Hydrants!
LikeLiked by 1 person
Its probably the ‘urine therapy’ for dogs. Might have to consult a caninetherapist. I believe that in Paris the dogs mark post boxes. So much so that in the luxury liner QEII, both fire hydrants and post boxes were fitted on the deck for a ‘dog walk’.
LikeLiked by 1 person
Happy times to Maximus
LikeLiked by 1 person